參數概覽:
| 適配電機 | 電機規格 | 適配57,60,70,80,86及以上機座號(步進/無刷/伺服電機) | ||
| 電機軸徑 | 適配軸徑3mm,4mm,5mm,6mm,6.35mm,8mm | |||
| 存儲溫度 | -40℃~85℃ | |||
| 推薦工作環境 | 場合 | 無腐蝕性,易燃,易爆,導電性氣體,液體和粉塵 | ||
| 工作溫度 | -40℃~80℃ | |||
| 濕度 | 不高于85% RH | |||
| 電氣參數 | 供電電壓 | 5VDC±0.5V | ||
| 消耗電流 | ≤21mA | |||
| 信號輸出 | 單端 | 5V,GND,A,B | ||
| 差分 | 5V,GND,A+/A-,B+/B- | |||
| 輸出電平方式 | TTL電平 | |||
| 差分輸出電壓 | 高電平輸出電壓≥3.4V | |||
| 低電平輸出電壓 ≤0.4V | ||||
| 差分信號輸出格式 | 線驅動26C31 | |||
| 可選分辨率(單位:線/PPR) | 十進制:100,200,360,400,500,1000,2000,2500 | |||
| 二進制:256,512,1024 | ||||
| 占空比 | 50% ±10% | |||
| 相位差 | 90°±10° | |||
| 響應頻率 | ≤440KHz 注意:信號頻率 = (轉速(Rpm)×線數)/60 | |||
波形圖:
兩通道單端信號輸出

兩通道差分信號輸出

俯視圖

底視圖

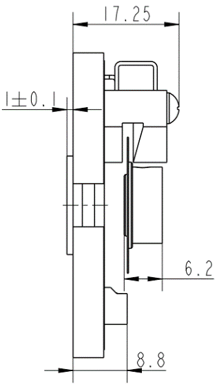
側視圖

Copyright 2023 版權所有 江蘇富興電機技術股份有限公司 蘇ICP備05002292號-1